Series R770

770.17.220.0 product image
igus-icon-lupe
770.17.220.0 technical drawing
igus-icon-lupe
770.17.220.0 technical drawing
igus-icon-lupe
1 of 3
770.17.220.0 product image
770.17.220.0 technical drawing
770.17.220.0 technical drawing
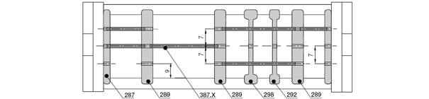
Inner height [Hi]
Inner height [Hi]
32 mm
Max. cable diameter
Max. cable diameter
28 mm
Opening principle
Opening principle
can be opened from both sides, lids can be hinge-opened
Inner width [Bi]
Inner width [Bi]
168 mm
Bend radius [R]
Bend radius [R]
220 mm

Consulting

I would be happy to answer your questions in person

Yap Han Song (Denis)
Yap Han Song (Denis)

igus-icon-phone+65 9834 4953

Consultation and delivery

In person:
Monday - Friday: 7 am - 8 pm
Saturday: 8 am - 12 pm
Online:
Chat service
Monday - Thursday: 8 am - 6 pm
Friday: 8 am - 5 pm
WhatsApp service
Monday to Friday: 8am to 4pm
What can we improve for you? Give us your feedback.

About igus®

Services

Contact

igus® Malaysia Sdn Bhd
(New Reg No. 200801027783/ Old Reg No. 829110-W)
Suite 1601-1, Level 16, Tower 2, Wisma AmFirst, Jalan SS7/15 (Jalan Stadium), Kelana Jaya, Selangor, Malaysia 47301

Our payment methods

  • Prepayment
  • Purchase on account
  • Visa
  • Mastercard

Follow us

  • Facebook
  • LinkedIn
  • YouTube

Stay up to date and sign up for the igus® newsletter here.

igus-icon-globeLanguage:English|Country:Malaysia

The terms "Apiro", "AutoChain", "CFRIP", "chainflex", "chainge", "chains for cranes", "ConProtect", "cradle-chain", "CTD", "drygear", "drylin", "dryspin", "dry-tech", "dryway", "easy chain", "e-chain", "e-chain systems", "e-ketten", "e-kettensysteme", "e-loop", "energy chain", "energy chain systems", "enjoyneering", "e-skin", "e-spool", "fixflex", "flizz", "i.Cee", "ibow", "igear", "iglidur", "igubal", "igumid", "igus", "igus improves what moves", "igus:bike", "igusGO", "igutex", "iguverse", "iguversum", "kineKIT", "kopla", "manus", "motion plastics", "motion polymers", "motionary", "plastics for longer life", "print2mold", "Rawbot", "RBTX", "RCYL", "readycable", "readychain", "ReBeL", "ReCyycle", "reguse", "robolink", "Rohbot", "savfe", "speedigus", "superwise", "take the dryway", "tribofilament", "tribotape", "triflex", "twisterchain", "when it moves, igus improves", "xirodur", "xiros" and "yes" are legally protected trademarks of the igus® SE & Co. KG/ Cologne in the Federal Republic of Germany and where applicable in some foreign countries. This is a non-exhaustive list of trademarks (e.g. pending trademark applications or registered trademarks) of igus SE & Co. KG or affiliated companies of igus in Germany, the European Union, the USA and/or other countries or jurisdictions.

igus® SE & Co. KG points out that it does not sell any products of the companies Allen Bradley, B&R, Baumüller, Beckhoff, Lahr, Control Techniques, Danaher Motion, ELAU, FAGOR, FANUC, Festo, Heidenhain, Jetter, Lenze, LinMot, LTi DRiVES, Mitsubishi, NUM,Parker, Bosch Rexroth, SEW, Siemens, Stöber and all other drive manufacturers mention on this website. The products offered by igus® are those of igus® SE & Co. KG