igus-icon-lupe
igus-icon-lupe
1 of 2
- High-grade formulated polyamide
- Self-extinguishing, free of halogens, phosphorus and cadmium
- Outstanding impact resistance
- Temperature range: -40°C to 105°C; short-term 160°C
igus-icon-lieferzeitI-BFH-10-0
10
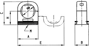
The one-piece PMACLIP system supports are suitable for mounting PMAFLEX corrugated tubes. This product is generally used in mechanical engineering and plant construction for easy installation of the PMA system.
